- 苹果公司申请了三项基于生物识别传感器的技术专利
- 来源:赛斯维传感器网 发表于 2021/3/10
苹果似乎正在通过针对各种健康指标(包括AR / VR,血糖监测和临床睡眠分析)的新专利,进一步进入健康市场。
尽管苹果公司传统上对即将推出的设计保持沉默(出于IP的原因,这是可以理解的),但该技术巨头在其公开申请的专利中并未提及其技术的总体方向。
苹果公司最近申请了三项专利,这些专利围绕直接和间接应用中的健康监控方面取得了进展-从血糖监控,临床睡眠分析到增强视力。

Apple Watch 6上的Apple血氧传感器图像。这是Apple过去创建的医疗专用传感器的示例。图片由Apple提供
这些专利引用了以下技术中的独特用例:
具有光束转向技术的红外收发器,结合可见光捕获和显示(专利申请:20210041291)
专注于可变入射EM角的太赫兹光谱性能增强(专利申请:20210041376)
基于单层中多个横向相邻基板的睡眠传感器(专利申请:20210038092)
使用可见光和红外光的增强物体识别
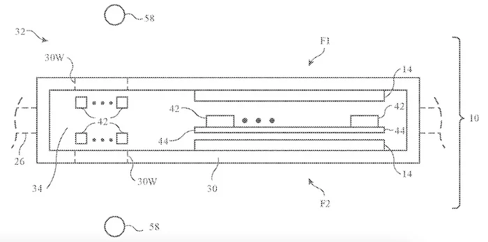
该设备中用于光束转向红外光感测的专利申请将“设备10”称为显示器具有多种方向(在下图中标记为“ 14”),具体取决于设备的用途。

“装置10”的示意图,包括所提出的用于红外传感的应用的外壳和元件。图片由美国专利局提供
这些用途可能包括蜂窝电话或头戴式设备。
该设备可以根据详细描述,基于接收到的变化的光强度的光谱来表征物体。该专利要求该设备具有在可见光,紫外和红外光谱范围内执行光学传感的能力。
它还建议通过位置数据(包括方向和倾斜度)来支持自动波束控制操作。
苹果公司的红外专利申请显示了一个外壳的简单横截面图,其中包含诸如PCB(标记为44),组件(标记为42)和以窗口布置方式显示的光学元件(标记为30W)之类的元件。
传统上,IR感应具有广泛的应用,包括运动检测,接近和倾斜检测。
这项新专利表明,用户可能希望使用光学感应器检查食品,以评估其成熟度,卡路里含量等。这种感应器可以根据物体的大小,形状,颜色,光泽度和其他属性,通过模式匹配来分析食物或食物。
从推测上讲,这可能适用于视力受损的情况,在这种情况下,用户需要对象识别和表征以帮助日常生活。
太赫兹辐射的非侵入性葡萄糖分析?
苹果公司已经提交了第二个针对在太赫兹频率范围内运行的电磁(EM)设备的申请。该设备的目的似乎是在“动态环境”中表征液体,固体或等离子体。
这种感知的进步可能适用于血液中的葡萄糖浓度,从而减轻了糖尿病患者长期采样血糖水平的痛苦过程。
该专利的具体用途含糊不清,细节表明“发送/接收太赫兹EM波的电子设备正在变化,和/或在环境中反映太赫兹波的一个或多个物体的位置和/或方向正在移动。 。”
该声明可能表明该设备可用于可穿戴技术。
据说该提议的设备通过传输和接收中的多极化来提高SNR。

改善SNR的设备的关键特征是在发射和接收中使用了多个极化。图片由美国专利局提供
带有多个极化的这种设计可能会引起RF设计者的兴趣。点对点EM应用经常遇到与极化有关的信号质量问题,并且由于天线未对准而产生损耗。
通过分析应用程序中的其他细节,此设备似乎可以量化设备周围环境中的气体浓度,包括基于0.692 THz的吸收光谱检测一氧化碳(CO)。
与其他RF设备一样,太赫兹辐射传感器可以基于外差原理(下变频)或通过直接检测进行操作。选择接收器方法的控制标准之一是相位信息(外差)对设计者是否重要。
使用这两项技术专利的具体应用尚不清楚,但似乎苹果公司总体上打算使用该技术来增强健康监控。
用高科技床上用品表征睡眠模式
苹果公司最终的专利技术着重于收集与睡眠质量有关的生物识别数据。该技术的主要特点是其薄型外形和灵活性,使其在睡眠时不会打扰用户。
传感器技术的电极是多层基板,可根据力机制(例如用户在床上的位置,心跳和呼吸指标)生成信号。

在所提出的设备中,虚线矩形(100)是指由电极的相互缝合的层组成的非侵入式生物特征监测平台。图片由美国专利局提供
该专利相对于传统睡眠监控的特定优势在于制造平台的每一层。每层基板中的多种材料可提供操作性能,同时“减少浪费的材料(并降低材料成本),减少睡眠监测器的整体厚度,增加睡眠监测器的灵活性并简化制造”。

该图是分层传感器的横截面设计的图像。图片由美国专利局提供。
E-CAD软件集成了支持刚性-柔性设计的功能,因此柔性PCB设计变得越来越普遍。
Apple的新专利申请对于所有EE都具有令人感兴趣的技术潜力,从使用红外的物体识别到嵌入床单的传感器技术。
- 如果本文收录的图片文字侵犯了您的权益,请及时与我们联系,我们将在24内核实删除,谢谢!















